立面寸法

線形寸法ツールの特殊なケースは、立面寸法ElevationDim00099.png組み立て法です。立面寸法を使用すると、断面 /立面/展開図、および3Dドキュメントウィンドウに高さマーカーを配置できます。

立面寸法は平面図でも使用できますが、この場合には、現在のプロジェクト原点またはユーザー原点から、平面図のY軸だけが測定されます。

立面寸法は寸法の原点に基づいて計算されます。寸法の原点は、必要に応じて立面寸法の設定で指定できます。

立面寸法の設定」を参照してください。

DimOrigin.png 

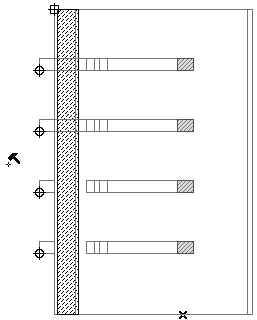
一連の立面寸法は、連動寸法列として動作します。一連の寸法全体を選択して編集するには、矢印ツールを使用して寸法列の非表示軸をクリック(この場合、カーソルが矢印付きの三つ又に変わる)するか、または別のツールが有効な状態でShiftキーを押しながらクリックします。

ElevDimExample.png 

列内の個々のマーカーは編集できません。

寸法を記入したい点をクリックして個々のマーカーを配置し、制御ボックスで[OK]ボタンをダブルクリックまたはクリックします。かなづちカーソルを使って、マーカーを配置します。

連続した立面図マーカーを配置する場合は、複数の点をクリックした後でダブルクリック(または制御ボックスで[OK]をクリック)し、かなづちカーソルを使用して連続したマーカーを配置します。

注記: プロジェクトに配置されたホットリンクモジュールには、ユーザー原点を参照する立面寸法が含まれる場合があります。この場合は、寸法値はソースプロジェクトの値と同じになります。ホストプロジェクトの立面寸法を移動する場合、異なる規則が適用されます。

ElevDimHam.PNG                    ElevDimPlaced.PNG

寸法列自体を選択せずに、立面寸法に関連付けられた全ての要素を選択し移動する場合、寸法列はそれらと一緒に移動します。寸法値の原点の位置は変わらず、数値が変わります。

要素を選択して関連する立面寸法と一緒に移動する場合、寸法列にカスタム原点があるとその原点は寸法と共に移動し、数値は変わりません。