表面に接合 相対組み立て法は、3Dウィンドウで作業するときだけ有効になります。この方法を使用すると、3D表示で作業するときに要素を非水平面上に並べることができます。
この方法では、選択した面とカーソルの作業面の交点が自動的に識別されます。作業面は通常、水平面です。しかし、屋根面の穴を移動するときなどの特殊な場合には、傾斜面になります。また、オブジェクトを曲線壁に合わせるときなどは、曲面にも接合させることができます。ただし、カーソルが傾斜面を移動しているときには、曲面に合わせることができず、表面の接線面にしか合わせられないという制限があります。
この固定法を新規要素の作成時に使用するには、次の手順に従います。
1.まず3Dウィンドウを開きます。
2.追加する要素のツールを選択します。
3.必要に応じて、ユーザー原点を調整します。
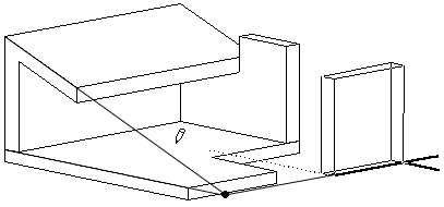
4.制御ボックスの表面に接合相対組み立て法を選んで有効にします。
5.新規要素を接合させる表面を3D表示内でクリックします。
6.選択した面の現在のユーザー原点の高さに黒いドットが表示されます。このドットは、基準面とユーザー原点の面の交差線に固定されたカーソルと一緒に移動します。
7.新規要素の作図を開始する場所をクリックします。要素は交差線に固定されます。通常の方法で、要素の作図を終了します。

既存の要素への[表面に接合]の使用
1.3Dウィンドウを有効にします。
2.必要に応じて、ユーザー原点を調整します。
詳細は、「原点」を参照してください。
3.編集する要素を選択します。
4.実行する編集コマンド(スラブの辺を屋根とユーザー原点の交点までストレッチするなど) を選択します。
5.基準となる点または辺をクリックして編集を開始します。
6.作図ツールバーまたは制御ボックスから「表面に接合」アイコンを選択し、前述のとおりに固定法を有効にします。
7.基準面を選択します。
8.要素の編集を終了します。