Ausrichten von Elementen zu einer Oberfläche in 3D
Die relative Konstruktionsmethode Zur Oberfläche ausrichten ist nur beim Arbeiten im 3D-Fenster aktiv. Sie ermöglicht beim Arbeiten in 3D-Ansichten das Einpassen von Elementen in nicht-horizontale Ebenen.
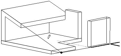
Diese Methode kennzeichnet automatisch den Schnitt einer ausgewählten Ebene und der Arbeitsebene des Cursors. Die Arbeitsebene verläuft häufig horizontal. In speziellen Fällen jedoch, beispielsweise beim Verschieben eines Durchbruchs in einer Dachebene, ist die Arbeitsebene des Cursors in einem Winkel angeordnet. Auch gebogene Oberflächen können ausgerichtet werden, beispielsweise beim Einpassen eines Objekts in eine gebogene Wand. Die Einschränkung dabei ist: wenn der Cursor sich in einer angewinkelten Ebene bewegt, kann er nicht in eine gebogene Oberfläche eingepasst werden, sondern lediglich in die Tangentialebene der Oberfläche.
Verwenden Sie die Einschränkungen beim Erstellen neuer Elemente wie folgt:
1.Öffnen Sie zum Verwenden der Einschränkung zunächst das 3D-Fenster.
2.Wählen Sie das Werkzeug für das hinzuzufügende Element aus.
3.Passen Sie ggf. Ihren Benutzerursprung an.
4.Wählen Sie die relative Konstruktionsmethode Zur Oberfläche ausrichten im Kontrollfenster aus oder aktivieren Sie sie.
5.Klicken Sie in der 3D-Ansicht auf eine beliebige Oberfläche, an der Sie Ihr neues Element ausrichten wollen.
6.Ein schwarzer Punkt erscheint auf der ausgewählten Fläche in Höhe des aktuellen Benutzerursprungs. Der Punkt folgt dem Cursor, der auf die Schnittlinie Ihrer Referenzebene und der Ebene des Benutzerursprungs begrenzt ist.
7.Klicken Sie auf die Stelle, an der Sie mit dem Zeichnen des neuen Elements beginnen wollen. Dieses Element ist auf die Schnittlinie begrenzt. Schließen Sie das Zeichnen des Elements auf die übliche Weise ab.

Verwendung von “Zur Oberfläche ausrichten” mit vorhandenen Elementen
1.Aktivieren Sie das 3D-Fenster.
2.Passen Sie ggf. den Benutzerursprung an.
Weitere Informationen finden Sie unter Nullpunkt.
3.Markieren Sie das Element, das Sie bearbeiten möchten.
4.Wählen Sie den auszuführenden Bearbeitungsbefehl aus, z. B. zum Strecken einer Deckenkante bis zum Schnittpunkt zwischen Dach und Benutzerursprung.
5.Klicken Sie auf einen Referenzpunkt oder eine Referenzkante, um mit dem Bearbeiten zu beginnen.
6.Wählen Sie das Symbol Zur Oberfläche ausrichten in der Zeichenhilfen-Symbolleiste oder im Kontrollfenster aus, und aktivieren Sie die Beschränkung wie oben beschrieben.
7.Wählen Sie Ihre Referenzebene aus.
8.Schließen Sie die Bearbeitung des Elements ab.