Выравнивание Элементов по Поверхности в 3D
Электронная рейсшина Выравнивания по Поверхности доступна только в 3D-окне. Этот метод позволяет при работе в 3D-окне размещать элементы на не горизонтальных поверхностях.
При его использовании происходит автоматическое определение пересечения выбранной плоскости и рабочей плоскости курсора. Как правило, рабочая плоскость располагается горизонтально. Однако, в особых случаях, например, при перемещении отверстия в скате крыши, рабочая плоскость курсора оказывается наклонена. Можно также осуществлять выравнивание по криволинейным поверхностям, например, объекта - по криволинейной стене. Ограничением в данном случае является то, что при перемещении курсора по наклонной плоскости невозможно осуществить подгонку к криволинейной поверхности, а только к плоскости касания этой криволинейной поверхности.
Выравнивание по Поверхности Вновь Создаваемых Элементов
1.Перейдите в 3D-окно.
2.Выберите инструмент того элемента, который хотите создать.
3.Укажите Пользовательское Начало Координат, если это необходимо.
4.Активируйте Выравнивание по Поверхности, выбрав соответствующую пиктограмму из выпадающего меню в Панели Управления.
5.Сделайте щелчок на той поверхности в 3D-виде, относительно которой следует выполнить выравнивание элемента.
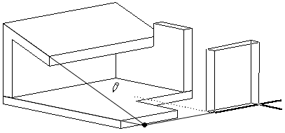
6.На указанной поверхности появится черная точка на текущей высоте Начала Пользовательской Системы Координат. Точка будет следовать за курсором, оставаясь на линии пересечения указанной плоскости привязки и плоскости Пользовательской Системы Координат.
7.Сделайте щелчок в том месте, в котором хотите начать построение нового элемента. Построение элемента будет ограничиваться линией пересечения. Закончите построение элемента обычным образом.

Выравнивание по Поверхности при Редактировании Существующего Элемента
1.Активируйте 3D-окно.
2.Укажите Пользовательское Начало Координат, если это необходимо.
Для получения дополнительной информации см. Системы Координат.
3.Выберите элемент для редактирования.
4.Активируйте нужную команду редактирования, например, изменения длины ребра перекрытия, которое требуется продлить до пересечения Крыши с Началом Пользовательских Координат.
5.Сделайте щелчок на точке привязки или ребре, чтобы начать редактирование.
6.Нажмите кнопку Выравнивания по Поверхности в выпадающем меню Панели Управления или в табло команд Вспомогательных Средств.
7.Выберите плоскость привязки.
8.Закончите редактирование элемента.